| 製作範囲 | |
|||||
|
|
|||||
|
|
|||||
|
|
|||||
| ステムパッキン | シートでステムをシールする構造です。外部からのダストシールとしてOリング (NBR) を装着。 | |||||
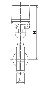
| 呼び径 ( |
ラ ン ク |
操作機型式 | H | L | Cv値 | |||||||
|
AE1 AE2 |
AEX |
AD1 AD2 AD0 |
HD1 HD2 HD0 |
PDX PHX |
AE□ | AD□ | HD□ | PDX PHX |
||||
| 40A (040) | 0 | 300 | 360 | 300 | 300 | 300 | 280 | 347 | 347 | 347 | 33 | 101 |
| 50A (050) | 0 | 300 | 360 | 300 | 300 | 300 | 295 | 362 | 362 | 362 | 43 | 236 |
| 65A (065) | 0 | 300 | 360 | 300 | 300 | 300 | 305 | 372 | 372 | 372 | 46 | 313 |
| 80A (080) | 0 | 600 | 700 | 700 | 700 | 700 | 331 | 382 | 382 | 382 | 46 | 469 |
| 100A (100) | 0 | 600 | 700 | 700 | 700 | 700 | 346 | 397 | 397 | 397 | 52 | 777 |
| 125A (125) | 1 | 700 | 700 | 700 | 417 | 417 | 417 | 56 | 1251 | |||
| 0 | 02K | 02K | 02K | 02K | 432 | 439 | 439 | |||||
| 150A (150) | 0 | 02K | 02K | 02K | 02K | 447 | 454 | 454 | 56 | 2372 | ||
| 200A (200) | 0 | 02K | 02K | 02K | 02K | 477 | 484 | 484 | 60 | 4480 | ||
| 2 | 06K | 06K | 06K | 06K | 537 | 525 | 525 | |||||
| *1) | EPDM製シートは油脂類には使用できません。 | ||||||||||||
|
|
|||||||||||||
| ■ 固有流量特性 |
■ 外形寸法図 |
||||||||||||
|
|
||||||||||||
|
|
|||||||||||||
| ■ 使用圧力と温度範囲 | ||||
|
|
|
|||||||||||||||||||||||||||||||||||||||
|
■ 製品コード |
|||||||||||||||||||||||||||||||||||||||
|
| 電源 | 制御方式 | 操作機型式 |
| 強力形 | ||
| AC | AC電源振替入力式 | AE1/ AD1/ HD1 |
| a接点信号入力式 | AE2/ AD2/ HD2 | |
| 比例制御式 | AEX/ PDX(高速)/ PHX(高頻度) | |
| DC | a接点信号入力式 | AD2/ HD2 |
| 極性反転入力式 | AD0/ HD0 | |
| 比例制御式 | PDX(高速)/ PHX(高頻度) | |
|
|
■オプション | ||
| 1: AC100/110V | L□: 補助リミットスイッチ*1 | ||
| 2: AC200/220V |
|
||
| 0: DC24V | |||
| 3: AC24V | |||
| ※電動操作機電圧の詳細は電動操作機の ページをご参照ください。 |
|||
|
|
|